Microchip Technology ATmega328 8-Bit AVR MCUs
Microchip Technology ATmega328 8-Bit AVR MCUs are low-power, CMOS 8-bit microcontrollers based on the AVR® enhanced RISC architecture. The devices execute instructions in a single clock cycle to achieve CPU throughput approaching one million instructions per second (MIPS) per megahertz. This allows for optimizing power consumption versus processing speed.Features
- High performance, low power AVR® 8-Bit Microcontroller family
- Advanced RISC architecture
- 131 powerful instructions – most single clock cycle execution
- 32 x 8 general-purpose working registers
- Fully static operation
- Up to 20 MIPS throughput at 20MHz
- On-chip 2-cycle multiplier
- High endurance non-volatile memory segments
- 4/8/16/32KBytes of in-system self-programmable Flash program memory
- 256/512/512/1KBytes EEPROM
- 512/1K/1K/2KBytes internal SRAM
- Write/erase cycles 10,000 Flash/100,000 EEPROM
- Data retention 20 years at 85°C/100 years at 25°C(1)
- Optional boot code section with independent lock bits
- In-system programming by an on-chip boot program
- True read-while-write operation
- Programming lock for software security
- QTouch® library support
- Capacitive touch buttons, sliders, and wheels
- QTouch and QMatrix™ acquisition
- Up to 64 sense channels
- Peripheral features
- Two 8-bit timer/counters with separate prescaler and compare mode
- One 16-bit timer/counter with separate prescaler, compare mode, and capture mode
- Real-time counter with separate oscillator
- Six PWM channels
- 8-channel 10-bit ADC in TQFP and VQFN package
- Temperature measurement
- 6-channel 10-bit ADC in SPDIP package
- Temperature measurement
- Programmable serial USART
- Master/slave SPI serial interface
- Byte-oriented 2-wire serial interface (Philips I2C compatible)
- Programmable watchdog timer with separate on-chip oscillator
- On-chip analog comparator
- Interrupt and wake up on Pin change
- Special microcontroller features
- Power-on reset and programmable brown-out detection
- Internal calibrated oscillator
- External and internal interrupt sources
- Six sleep modes: Idle, ADC Noise Reduction, Power-save, Power-down, Standby, and Extended Standby
- I/O and packages
- 23 programmable I/O lines
- 28-pin SPDIP, 32-lead TQFP, 28-pad VQFN, and 32-pad VQFN
- Operating voltage
- 1.8 - 5.5V
- Temperature range
- -40°C to 85°C
- Speed grade
- 0-4MHz at 1.8-5.5V, 0-10MHz at 2.7-5.5.V, 0-20MHz at 4.5-5.5V
- Power consumption at 1MHz, 1.8V, 25°C
- Active mode 0.2mA
- Power-down mode 0.1µA
- Power-save mode 0.75µA (including 32kHz RTC)
Applications
- Home and building automation
- Comfort and control
- Industrial automation
- Sensors
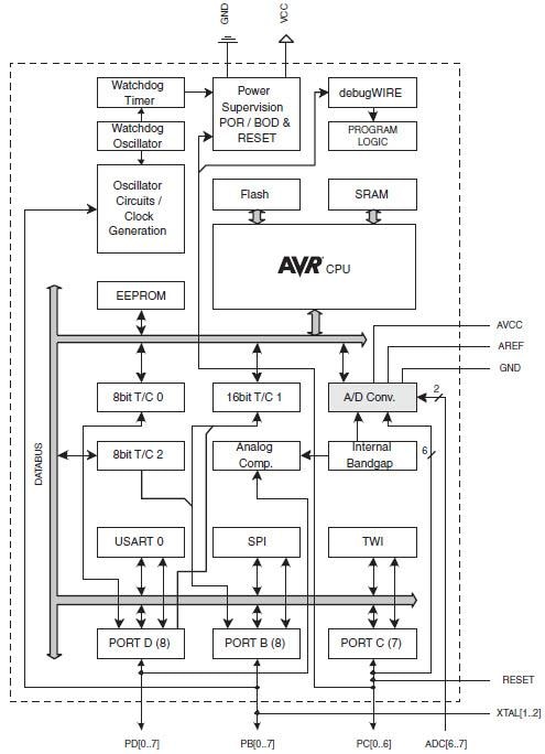
Block Diagram
Inilathala: 2011-05-18
| Na-update: 2024-12-19
